第四节 曲轴飞轮组的维修
2025-10-29 本站作者 【 字体:大 中 小 】
第四节 曲轴飞轮组的维修一、曲轴飞轮组的结构
曲轴飞轮组主要由曲轴、飞轮、曲轴主轴承等组成,如图2-43所示。

图2-43 曲轴飞轮组
1 曲轴
(1)曲轴的功用 承受连杆传来的力,并由此产生绕自身轴线旋转的力矩,该力矩通过飞轮输送给底盘驱动汽车行驶。曲轴还用来驱动发动机的配气机构和水泵、发电机、空气压缩机等附件。
(2)曲轴的基本组成 曲轴包括前端轴、主轴颈、连杆轴颈(曲柄销)、曲柄、平衡重和后端凸缘等,如图2-44所示。曲轴上磨光的表面为轴颈。将曲轴支承在曲轴箱内旋转的轴颈为主轴颈,主轴颈的轴线都在同一直线上。偏离主轴颈轴线用以安装连杆的轴颈为连杆轴颈(或称曲柄销),连杆轴颈之间有一定夹角。连杆轴颈与主轴颈之间还加工有润滑油道。

图2-44 曲轴
将连杆轴颈和主轴颈连接到一起的部分称为曲柄,连杆轴颈和曲柄共同将连杆传来的力转变为曲轴的旋转力矩。轴颈与曲柄之间有过渡圆角,以增加强度。
前端轴用以安装水泵带轮、曲轴正时带轮(或正时齿轮、正时链轮)、启动爪等。后端凸缘用以安装飞轮。
为使发动机运转平稳,一般在连杆轴颈相对的位置上设有平衡重。不同发动机的曲轴设置的平衡重数量不同,有四块、六块、八块等。
2 飞轮
(1)飞轮的功用 储存做功行程中的部分能量,以便在其他行程带动曲柄连杆机构工作;保证曲轴运转均匀,克服短时间的超负荷;通过飞轮齿圈与起动机小齿轮啮合,以便启动发动机;通过飞轮将发动机的动力传递给离合器或自动变速器。
(2)飞轮的构造 如图2-45所示,飞轮是一个转动惯量较大的金属圆盘,飞轮外缘一般较厚,以保证有足够转动惯量的前提下,尽可能减小飞轮质量。飞轮的外缘压装有启动用的齿圈。飞轮通过螺栓与曲轴后端凸缘连接,为保证飞轮与曲轴的正确安装位置,一般用定位销或不对称螺栓孔来保证。

图2-45 飞轮
小提示
飞轮上一般刻有点火正时标记,以便校准点火正时。
3 曲轴轴承
发动机曲轴轴承有连杆轴承(俗称小瓦)、曲轴主轴承(俗称大瓦)和曲轴止推轴承,如图2-46所示。曲轴轴承均由上、下两片轴瓦对合而成。每一片轴瓦都是由钢背和减摩合金层或钢背、减摩合金层和软镀层构成。钢背是轴瓦的基体,由1~3mm厚的低碳钢板制造,以保证有较高的机械强度。在钢背上浇铸减摩合金层,减摩合金材料主要有巴氏合金、铜基合金和铝基合金。

图2-46 曲轴轴承
4 曲轴轴向定位
在汽车使用中,曲轴可能会发生轴向窜动,这将会破坏活塞连杆组在气缸中的正确位置,所以必须采用曲轴轴向定位装置(推力轴承)加以限制。
为使曲轴在受热时能够自由伸长,所以曲轴的各道主轴承上只有一道轴承的两边设有推力轴承。推力轴承常用的形式有翻边轴承、止推片和止推环等,如图2-47所示。

图2-47 推力轴承的类型
二、曲轴飞轮组的检修
1 曲轴的检修
曲轴的常见故障是轴颈磨损、弯曲和扭曲变形,严重时出现裂纹,甚至断裂。
(1)曲轴裂纹的检查与修理 曲轴裂纹一般发生在轴颈两端过渡圆角处或油孔处,裂纹较严重时,可通过观察或用锤子轻轻敲击平衡重,从发出的声音来判断。检查裂纹的最好方法是在专用的磁力探伤仪上进行磁力探伤。
曲轴裂纹可进行焊修,但一般是更换新件。
(2)曲轴弯曲的检查与修理曲轴弯曲的检查如图2-48所示。将曲轴放在检测平板上的V形铁上,百分表指针抵触在中间主轴颈上,转动曲轴一圈,百分表指针的摆差(径向圆跳动误差)一般应不超过0.04~0.06mm。

图2-48 曲轴弯曲的检查
1—百分表;2—V形铁
曲轴弯曲较轻(径向圆跳动误差小于0.1mm)时,一般可经磨削曲轴后消除。弯曲严重的曲轴必须进行校正,必要时更换曲轴。
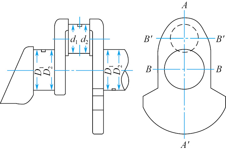
(3)曲轴磨损的检查与修理 曲轴轴颈的磨损可用外径千分尺测量其直径来确定,测量部位如图2-49所示。轿车发动机曲轴轴颈的圆度和圆柱度一般超过0.01~0.0125mm时,应进行磨削修理,轴颈直径达到其使用极限时应更换曲轴。

图2-49 曲轴轴颈的测量
曲轴主轴颈磨损严重失圆时,发动机熄火后曲轴往往停在同一位置上,发动机启动时则飞轮上总是局部的几个齿与起动机齿轮啮合,所以可根据飞轮齿圈磨损情况判断。
小提示
连杆弯曲变形可导致连杆轴颈锥形磨损,所以连杆轴颈圆柱度过大时,应检查曲轴是否有弯曲变形。
(4)曲轴轴向间隙的检查与调整 如图2-50所示,检查曲轴轴向间隙时,可将百分表指针抵触在飞轮或曲轴的其他端面上,用撬棒前后撬动曲轴,百分表指针的最大摆差即为曲轴轴向间隙。也可用塞尺插入止推垫片与曲轴的承推面之间,测量曲轴的轴向间隙。

图2-50 曲轴轴向间隙的测量
曲轴轴向间隙一般为0.07~0.17mm,允许极限一般为0.25mm。间隙过大或过小,可通过更换止推垫片来调整。
2 飞轮的检修
飞轮的主要故障是工作面磨损、齿圈磨损或断齿等,如图2-51所示。

图2-51 飞轮常见损伤
1—飞轮齿磨损;2—飞轮齿折断;3—飞轮表面烧灼;4—飞轮表面裂纹
在装用手动变速器的汽车上,飞轮与离合器接触的一面会有磨损,磨损较轻(沟槽深度小于0.5mm)时允许继续使用,磨损严重(沟槽深度超过0.5mm)或槽纹较多时,应磨削飞轮工作面,必要时更换飞轮。
小提示
飞轮工作面的磨削总量不能超过1mm,更换新的飞轮时应刻上正时标记,新飞轮与曲轴安装后应进行动平衡测试。
飞轮齿圈若有损坏,必须更换。更换飞轮齿圈时,可用铜冲将旧的飞轮齿圈从飞轮上拆下;安装新飞轮齿圈时,先将飞轮齿圈加热(不要超过400℃),再用锤子将飞轮齿圈装到飞轮上。
小提示
齿圈有倒角的一面应朝向曲轴。
猜你喜欢
汽车文化 | 被遗忘的一代大陆和林肯
158
发动机冷却系统
195
摩托车后刹车,鼓刹好还是碟刹好呢?
191
宗申Q15三轮摩托车测评:搭载了250cc水冷发动机,可拉2吨重
98
2023汽车品牌价值排名:特斯拉夺冠,福特比奥迪还有价值?
236
道奇公羊1500长角号V8版五座皮卡售价
187
车子开着突然抖动?发动机出现这些问题要警惕,别等大修才后悔
110
2025年安全座椅品牌排行榜10强,安全与舒适的完美结合
132
累死我了,从1楼爬到28楼,终于找到哪层最吵了
204
2018创星杯二等奖作品回顾
177
敦化市交通运输局疫情期间保路网畅通
绵阳限行规定(时间+车辆+区域)
欧洲卡车模拟2怎么休息-欧洲卡车模拟2中如何休息
你的车机为什么比千元安卓机还难用?
国务院印发《2024-2025年节能降碳行动方案》 逐步取消各地新能源汽车限购
易查车 安卓版v3.2.20
国产“卡车界劳斯莱斯”来了
“十五五”,中国汽车迎核心窗口期!——记第二十届中国经济论坛平行论坛
跨国车企出口力度拉满
山海“骑”遇大湾区



