四面楚歌!某车企被强制执行2.5亿
2025-11-07 本站作者 【 字体:大 中 小 】
温馨提示:点击上方蓝字关注“汽车行业关注”,或者添加微信公众号:autoWechat,每日收获最新最快最热门的精彩汽车资讯。如果您有好的原创文章或者独家爆料,请发邮箱mail@autochat.com.cn
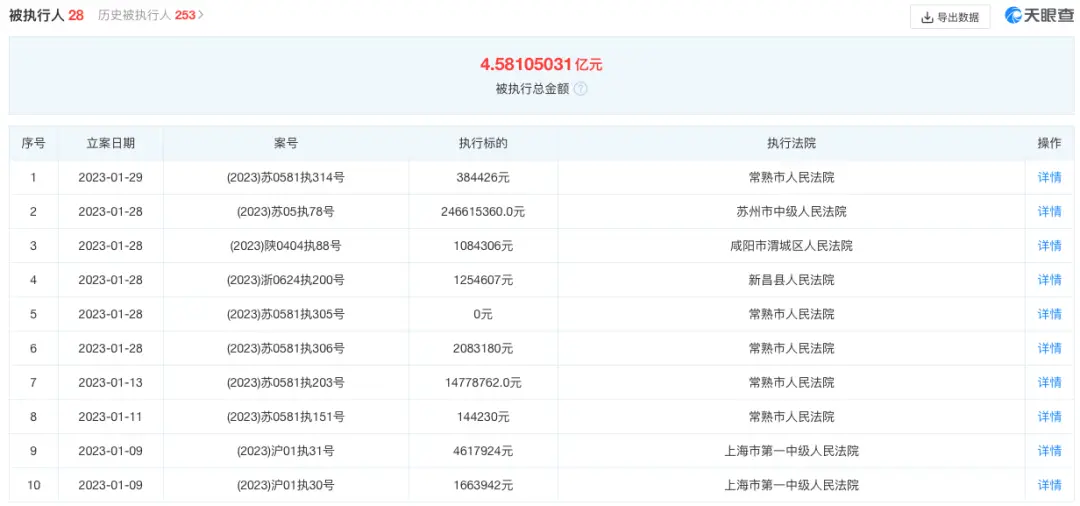
1月28日,天眼查信息显示,观致汽车有限公司(下称“观致汽车”)新增多则被执行人信息,执行法院包括咸阳市渭城区人民法院、新昌县人民法院、苏州市中级人民法院等,执行标的合计2.5亿余元。
作为一家成立于2007年的车企,观致汽车此前已被多地法院列为执行人。天眼查信息显示,截至今日发稿前,观致汽车自身风险信息已超1300条,终本案件执行标的总金额7.26亿元,未履行总金额7.25亿元,未履行比例达99.9%;与此同时,观致汽车被常熟、苏州、咸阳、新昌、上海等多地人民法院列为被执行人,累计被执行金额超4亿。



观致汽车发展不顺早在2021年中就有前兆了。当时宝能汽车及旗下观致汽车被曝欠薪、停缴社保及公积金等,而欠薪只是冰山一角。尤其是进入2022年后,观致汽车的负面消息更是接连不断。
2022年4月,云南省发改委公告称,“昆明宝能新能源汽车零部件生产项目”和“观致汽车有限公司(昆明)分公司建设项目”因逾期2年未开工建设,未通过云南省投资项目在线审批监管平台作出说明,也未撤回备案信息,经提醒后未作出相应处理。根据相关规定,这两个项目被移除在云南省投资项目在线审批监管平台上的项目备案信息,其投资备案证明文件失效。
2022年5月7日,山东省汽车流通协会公告称观致总部已经人去楼空,为维护消费者权益,将观致汽车拉进 " 黑名单 "。山东省汽车流通协会表示,接到多起济南市观致车主售后无4S店维修保养的投诉,经其调查,济南市4家宝能观致汽车直营店都已关门停业,厂方服务电话也被注销,同时向观致品牌所属的宝能集团总部发送问询函,但因“人去楼空”信函被退回。此后经该协会调查,发现宝能汽车存在严重经营问题,于是将宝能观致汽车品牌列入消费黑名单,并向全省广大消费者发出消费警示:谨慎购买宝能观致品牌汽车。

2022年7月29日,江苏常熟市人资社保局通过官方微信公众号通报:“经查,观致汽车有限公司拖欠751名工人工资1000.18万元,且经责令改正拒不改正,按照涉嫌拒不支付劳动报酬罪依法移送公安机关处理。”
2022年11月,《江苏省常熟市人民法院执行裁定书》显示,常熟市人民法院通过网络执行查控系统向金融机构、网络支付机构、保险机构、证券机构、不动产登记部门、车辆登记部门、市场监督部门发出查询通知,经分析财产查询反馈发现,观致汽车名下存款只有2651.30元。
2022年12月,安徽芜湖经济技术开发区人民法院发布一则拍卖公告,标的为观致汽车有限公司的汽车生产线设备,起拍价约为1.23亿元,当时行业不少人士认为,观致汽车生产线都被法院拍卖了,距离彻底破产也不远了。此后,大量观致7新车出现在司法拍卖平台上等待拍卖,其中来自于山东、浙江、湖北、河南、重庆等地区的查封车。

观致汽车成立于2007年,虽然名气并不出众,但其出身并不平凡。观致汽车是由奇瑞汽车有限公司和以色列集团共同投资组建,双方分别持有55%和45%的股权,2009年持股比例调整为50:50,2011年合资公司正式更名为观致汽车。
《汽车行业关注》在此前深度报道观致汽车的发展历程时发现,观致汽车算是国内较早定位高端的自主品牌,早在2013年便在国内发布了首款量产车型“观致3轿车”,并于2014年实现量产上市,观致3定位紧凑级轿车市场,官方表示观致品牌将对标大众、丰田等主流合资品牌。此后在2014年-2016年期间,观致汽车也先后推出观致3五门版、观致3都市SUV、观致5 SUV及观致3 GT共计4款车型,其中观致3五门版于2014年6月底上市;观致3都市SUV于2014年12月上市,观致首款中型SUV车型观致5SUV于2016年3月2日上市,观致3 GT于2016年11月上市。虽然产品众多,更新的速度也不慢,但在奇瑞掌控观致汽车时期,观致汽车在华的发展并不顺利。数据显示,2014年-2016年三年期间观致汽车累计销量不足2.2万辆,持续低迷的销量也致使观致汽车连年亏损,2014年-2016年分别亏损22亿元、25亿元和19亿元,累计亏损达66亿。在此背景下,观致汽车于2017年12月转手给了宝能集团。

2018年3月在观致汽车经销商大会上,宝能集团董事长姚振华宣称,从2018年开始连续五年,每年向观致汽车投资100亿元用于新车研发,到2022年预计推出26款新车型。在宝能集团的重金投入下,观致汽车销量有了明显好转。数据显示,2018年观致汽车销量同比增长320%至6.3万辆,但同比增长320%是建立在“自产自销”的模式,这一年大部观致车是直接卖给了宝能旗下的租车公司,虽然销量数据同比大幅提升,但实际上自标不治本。短暂的风光后,观致汽车销量很快陷入了断崖式下跌,而宝能集团当初给观致汽车许下的承诺也未能扭转观致汽车困局,2019年销量仅为2.27万辆,2020年甚至几乎腰斩,只剩1.31万辆。
到了2021年,观致汽车在内部员工流失、外部供应商和经销商维权、销售失利等诸多因素的影响下,全年销量只有5200辆,其中2021年7月销量为0辆,第四季度的销量不足百辆。

2022年初,宝能汽车发布全新豪华智能新能源汽车品牌“BAO”旗下首款高端智能纯电动SUV GX16和来自观致汽车的观致6(代号C21)两款新车,试图以此走出困势。同年5月份有消息显示,宝能计划在年内量产GX16车型,此后市场上就再也没有关于新车的消息流出了。在负面缠身的情况下,2022年观致汽车全年累计销量仅720辆,同比暴跌84.76%,如今的观致汽车已身处生死存亡的悬崖边上,留给观致汽车的时间显然不多了。
汽车行业关注 人气汽车新传媒
猜你喜欢
奥迪A5,冷门车??? - 今日头条
116
风雨长春:中国第一汽车城的坚持与坚守
111
黄标车、老旧车及强制报废车定义和识别方法
151
福田汽车:通过产品升级引领中国商用车消费变革
114
VIN车架号怎么查车型?找到4个利用车架号查车辆型号的方法!
232
资深版主教你一分钟调好校油泵,值得看收藏
163
店铺查询
165
怎样进行有效的隔音处理?隔音处理的材料有哪些选择?
118
资讯:昆明到南通汽车发车时刻表2发车班次及线路查看更新中
162
郑州近期将发布指导意见 给共享单车“定规矩”
105
敦化市交通运输局疫情期间保路网畅通
绵阳限行规定(时间+车辆+区域)
欧洲卡车模拟2怎么休息-欧洲卡车模拟2中如何休息
你的车机为什么比千元安卓机还难用?
国务院印发《2024-2025年节能降碳行动方案》 逐步取消各地新能源汽车限购
易查车 安卓版v3.2.20
国产“卡车界劳斯莱斯”来了
“十五五”,中国汽车迎核心窗口期!——记第二十届中国经济论坛平行论坛
跨国车企出口力度拉满
山海“骑”遇大湾区



